Pangaea Palace offers flexible living spaces for individuals or families. It used to be a historical townhouse block from the renaissance period, which temporarily served as an administrative centre. Recently, it was transformed into a contemporary residential building, without losing the grandeur from its long past.
Urban Livers
The Urban Livers of Reburg take waste - in Reburg we call it 'collateral output' - from the city and, following the function of the human liver, filter and detoxify it to create new raw materials. The engineers at the Livers team up with crafters and makers from the local FabCenter to make specific chemicals that can be reused and refashioned into new products and services."
HealthyHill estate
HealthyHill Estate is a large green area in the middle of Reburg’s city centre. It harbours a village for elderly and children care, an exhibition centre and a hospital, and it connects through its garden with the EduPlay centre.
EduPlay Centre
The EduPlay centre is a children’s school & playground at the same time. During schooldays, the building is organized in a school setup, with class rooms and flexible project working spaces. In the evenings it support recreational activities for surrounding inhabitants. During weekends and holiday periods, the building and its surroundings is transformed into holiday facilities for children’s summer camps, holiday homes and apartments for tourists that come to spend their vacation in Reburg.
Pangaea Palace offers flexible living spaces for individuals or families. It used to be a historical townhouse block from the renaissance period, which temporarily served as an administrative centre. Recently, it was transformed into a contemporary residential building, without losing the grandeur from its long past.
Having the floor…
Erica Molano, resident:
"From its authentic façade, you would not expect that Pangaea’s internal structure is highly adaptable to our changing needs. "
"Together with my family, I live in an apartment in Pangaea Palace, a beautiful renaissance building in the heart of Reburg. From its authentic façade, you would not expect that Pangaea’s internal structure is highly adaptable to our changing needs. My elderly father used to have his own studio attached to our apartment. Last year, he moved to HealthyHill, a care centre, so we decided to remove the studio from our apartment. Thanks to its reversible design we were able to do most of the deconstruction ourselves with some technical support from our building stock manager Facilitoutatis. This service company supported us with the planning and execution of the reassembling works and took over the burden of safety and maintenance responsibilities. The empty space was reorganised and rented out to new residents. Spare parts were collected by Urban Metabolism Ltd and used for other building applications within Reburg."
"I have recently started my job as a strategic planner at ResourCycle, a recycling company located at the Urban Livers. As we are planning to build our lives in Reburg, we have chosen to buy the basic outline of our apartment in Pangaea Palace. For my father’s former studio we used to have a use-contract with Facilitoutatis, the company that manages residential buildings in our neighbourhood. The leasing arrangement made it affordable for us as we did not have to bear the full investment costs related to this home extension that we knew would be only temporary. We just paid for the use of these features during the time that we actually needed them."
Elma Hobbs, building system developer at Meccalegos Ltd:
"By simply rearranging internal walls or inserting plug-and-play modules, we can create or reshape spaces in a fast and effective way, without any demolition works."
"The advantage of the old renaissance building was that it consisted of spacious rooms that offered many possibilities for repurposing. To reorganize Pangaea Palace into separate, yet multi-purpose units, we used an ‘open building system’, consisting of a set of standardised, compatible building components and connections, that can easily be assembled and disassembled. Smart use of such a system results in time savings in both the design and construction phase. By simply rearranging internal walls or inserting plug-and-play modules, we can create or reshape spaces in a fast and effective way, without any demolition works. This is made possible thanks to the use of dry connections, such as bolts and screws. As a consequence, most of the reshaping can be done by the residents themselves. For example, dwelling units can temporarily be extended with additional bedrooms when housing a young family, or reduced in size when its inhabitants grow older and children move out."
Rodrigo Madagani, building stock manager working for Facilitoutatis at Pangaea Palace:
"The tailorable building design gives us the opportunity to maximise our building occupancy rates at all times."
"We manage a portfolio of modular and reversible buildings in Reburg. The buildings that are part of our own building stock, we let to families and companies. Their reversible and modular design allows us to easily repurpose buildings, but also unit sizes and interiors can easily be adapted to market needs. To our residents we offer support in the tailoring of buildings to their needs. The tailorable building design gives us the opportunity to maximise our building occupancy rates at all times. In addition to the renting market, we also do the management of privately owned buildings, for example by offering creative solutions to alter their configurations.
Pangaea Palace, for example, is a block of family owned apartments. Still, it is in constant evolution. When residents want to change their apartment configuration, we work out the assembly plan with them. We also have a technical team of building assemblers that can perform the actual works, or residents can choose for a do-it-yourself approach. Consequently, it is important to keep track of all past and current configurations in a digital twin of the building. You could compare this to a ‘digital log book’. It keeps track of the transformations of spaces and when components are used again for other functions. Apart from keeping the log book up-to-date with all changes, our building configurators give advice and assist the residents with the spatial layout and execution of retrofit works. We use an internal circular building assessment tool, to assist the building configurators and residents in taking decisions together. Affordability is still a main driver to select the most appropriate dwelling configuration, but environmental awareness and user comfort are equally important for our clients.
We also take care of the general maintenance of Pangaea Palace. In its maintenance-friendly design, all technical ducts and wiring for air-conditioning, heating, water supply and data communication are strategically positioned within the floors and interior walls to be easily accessible for maintenance and replacement. Additionally, as Pangaea Palace is a cognitive building, it keeps track records of the maintenance needs of its different components and reports necessary repair works or replacements. Thank to this, we can prevent structural building problems, avoiding expensive repair when it is already too late."
Carmen Van Zandt, component wizard at Urban Metabolism Ltd, a component service company:
"All building logs are shared through the city’s digital cadastre, so I can check on the spot if components can be of use in new assemblies in the neighbourhood."
"Urban Metabolism manages building materials and components as a service. As a component manager, I work closely together with building stock managers, such as Rodrigo from Facilitoutatis. During the deconstruction and construction works, there are always spare (or unfit) parts that cannot be directly re-used again on-site. That’s when I come into action. Thanks to the digital logbook of the Pangaea Palace, I can easily identify redundant building parts and decommission them. Because all digital building logs within Reburg are shared through the city’s digital cadastre, I can check on the spot if components – fit for purpose - can be of use in new assemblies in the neighbourhood.
If this is not the case, redundant components are directly transferred to our large storage facility at the Urban Livers. Components are cleaned, checked for quality and stored until they can be used again. As the buildings in Reburg are constructed using open building systems and modular components, it is easy to reuse components from one building in another, minimising the need for compatibility adaptions and costs. As soon as a new application is identified within Reburg or neighbouring cities, the components are remanufactured according to the new needs and transferred."
This project has received funding from
the European Union’s Horizon 2020
research and innovation programme
under grant agreement No 642384.
HealthyHill Estate_
HealthyHill Estate is a large green area in the heart of Reburg’s city centre. It harbours a village for elderly and child care, an exhibition centre and a hospital, and it connects through its garden with the EduPlay centre.
Having the floor…
Erica Molano, daughter of resident:
"The facility manager arranged it so that their flats could be merged together, allowing them to extend their living room and kitchen by rearranging some of the internal walls."
"After a severe operation, my father required more day-to-day medical care and was unable to return to his studio in our home. He now rents a part-time care apartment at HealthyHill Estate, which is close-by. He enjoys being independent, yet supported with some of the difficult tasks, such as cleaning, cooking and washing. My father really feels at home at HealthyHill, with all the other residents, they form a nice community. He even met a new girlfriend on the estate and last summer she moved in with him! The facility manager arranged it so that their flats could be merged together, allowing them to extend their living room and kitchen by rearranging some of the internal walls. The whole move was all done within a day at only limited costs!"
Elma Hobbs, building system developer at Meccalegos Ltd:
"We have created a digital twin of the entire estate. This virtual environment allows us to check on beforehand which configurations are possible."
"The residential units at HealthyHill are made in such a way that they can be connected and disconnected from each other in a very versatile way according to the needs of its residents. Many residents only stay for a limited time at HealthyHill during their recovery from medical care, which asks for fast and regular configuration changes. Others need more permanent care and stay for a longer time, but their care needs also change. Thanks to the modular-based building system, we can quickly adapt the configuration of HealthyHill to the needs of its inhabitants at any time.
The same applies to the exhibition area in the garden: it can be reorganized in accordance to the needs of the performance or exhibition that is taking place. To do so, we have created a digital twin of the entire estate. This virtual environment allows us to check on beforehand which configurations are possible with certain building systems and how reusable different components and materials are. Based on this reuse potential, we then select the most appropriate building systems."
Rodrigo Madagani, building stock manager at Facilitoutatis, working at HealthyHill Estate:
"The buildings at HealthyHill Estate are so-called ‘cognitive buildings’. This means all units are aware of their own energy performance and their resident’s comfort preferences down to individual rooms."
"At Healthyhill, the first objective is to provide high-quality health care, tailored to the patient’s needs. During the design process of Healthy Hill, a first objective was to guarantee a healthy indoor environment for all residents and care-givers. Therefore, we experimented with innovative carpet tiles that purify the indoor air and antibacterial handrails and door knobs. In order to make the best material choices, we make use of the materials passports of building products and evaluate them with our building assessment tool that automatically identifies the best options in view of the health characteristics we need.
As patients and their respective needs can change relatively fast, HealthyHill often needs to undergo very profound changes in relatively short time periods. We keep track of those changes in the digital log book and make sure that the most recent configuration is uploaded into the facility management system and linked to the city’s digital cadastre. This means we know exactly which dwelling units have which features, such as materials or equipment, and we can organise maintenance activities accordingly.
The buildings at HealthyHill Estate are so-called ‘cognitive buildings’. This means all units are aware of their own energy performance and their resident’s comfort preferences down to individual rooms. They automatically adjust temperature levels accordingly and are able to share energy resources with other facilities in the neighbourhood. Useful room information is provided to the care giving staff, in order to facilitates some services to the residents, such as the delivery of cold drinks on a hot day or the repair of a broken fridge. The cognitive building can alert the care giving staff in case of unusual situations, such as a resident that did not leave his room for the whole day, or unusually high water consumption that could imply leakages."
Carmen Van Zandt, component wizard at Urban Metabolism Ltd, a component service company:
"The components and modules used in HealthyHill are provided through a leasing system."
"The components and modules used in HealthyHill are provided by Urban Metabolism Ltd. through a leasing system. At the request of Facilitoutatis, we have taken special care to supply non-toxic, healthy materials, for the construction of the buildings at HealthyHill Estate. Many of these materials are bio-based and some materials even have a positive health effect on their surroundings, as they are capable of purifying air, or slowly releasing beneficial aromas and essences into the in-house air. In this way, the buildings of HealthyHill Estate actively contribute to their residents’ health, well-being and recovery.
As the building units are often rearranged and reassembled, many components and parts are reused over and over again, limiting the need for new materials and avoiding the costs related. Therefore, it is crucial that all components and materials come with a passport which lists all relevant information on their substances, their use and their history but also guidelines on their recovery and reuse potential. With this information Urban Metabolism Ltd can decide at any time how to handle the components in the best possible way, or send them to ResourCycle for recycling into raw materials."
This project has received funding from
the European Union’s Horizon 2020
research and innovation programme
under grant agreement No 642384.
EduPlay Centre_
The EduPlay centre is a children’s school & playground at the same time. During schooldays, the building is organized in a school setup, with classrooms and flexible project working spaces. In the evenings it supports recreational activities for surrounding inhabitants. During holiday periods, the building and its surroundings is transformed into holiday facilities for children’s summer camps, holiday homes and apartments for families that come to spend their vacation in Reburg.
Having the floor…
Erica Molano, parent and president of the school council:
"In holiday periods, the EduPlay centre is transformed into a holiday and leisure centre with holiday homes, a hotel and activity areas."
"Thanks to the reversible design, transformation, repair and refurbishment costs are quite low, as building components can easily be repaired or replaced without extensive deconstruction works. When the old school buildings were replaced by the EduPlay centre and its transformable setup, we consulted a circular business consultant to design an investment plan. Through a smart combination of investments in core infrastructure and leasing of building components, we could limit the investment costs in the initial building phase.
In holiday periods, the EduPlay centre is transformed into a holiday and leisure centre with holiday homes, a hotel and activity areas. In this way, the central location within Reburg city centre is used to its full potential year-round. The collaboration with the hotel company allows us to share the burden of some investment and maintenance costs and yields additional income which the school can use for supporting our educational activities. Additionally, the hotel company can increase its capacity temporarily in high season periods. This cooperation is a real win-win for both parties, made possible by the smart transformable setup of the building units. The result is that the buildings are used more intensively -inside and outside of school hours- and that risks are reduced -both in terms of maintenance costs and hotel occupancy."
Elma Hobbs, building system developer at Meccalegos Ltd:
"The school ‘grows with the students’: classrooms can easily be added or removed depending on demographics."
"As Reburg has been attracting a lot of young families, creating sufficient school capacity within a short time frame used to be a big problem. That is why 10 years ago the school decided to choose for a fundamentally new building system of transformable class rooms and multifunctional spaces with adaptable walls and floors. This system allows us to ‘grow with the students’: classrooms can easily be added or removed depending on demographics.
From kindergarten to primary and secondary school, building components and class units are easily moved/transported to the location in the city where it’s most needed and arranged in the most suitable setting (small or big classes, lab settings, playing areas, etc.). Basically, classrooms move and evolve together with their students instead of vice-versa. We used the digital twin of the EduPlay Centre to determine which building components and configurations were most suited to allow such a high level of transformation and reuse."
Rodrigo Madagani, building stock manager at Facilitoutatis, working at the EduPlay Centre:
"Facilititoutatis uses detailed week/month programmes so that our teams can change the rooms swiftly and efficiently to the new configuration."
"Facilitoutatis manages the building configurations and maintenance in both the EduPlay centre and the nearby HealthyHill Estate. As both facilities work with the same open building system, we can easily switch modules and components between both sites according to their respective needs. Also, interior and exterior finishing materials are easily tailored to any taste, smoothly matching the buildings’ look and feel with preferences of both facilities. You would be surprised how many different architectural styles and forms can be created with the same modular components!
Using a virtual 3D model, a digital twin of the complete EduPlay Centre, we adapt the different rooms and spaces immediately to the changing needs of the school, while continuously updating detailed site plans and keeping track of the use history of all modules and components. In holiday periods, we also transform part of the classrooms into holiday homes and leisure spaces, based on the touristic requests we receive all year round.
Besides the technical challenges that come with such fundamental transformation, this also requires professional work management, using detailed week/month programmes so that the deconstruction and assembly teams at Facilititoutatis can change the rooms swiftly and efficiently to the new configuration. Of course, we make sure every new configuration meets safety and health regulations. Unfit and redundant building parts or modules are taken care of by the component wizards of Urban Metabolism.
"
Carmen Van Zandt, component wizard at Urban Metabolism Ltd, a component service company:
"In the Edu-Play centre we used parts and materials from the deconstruction of the old harbour warehouses."
"In the Edu-Play centre we used parts and materials from the deconstruction of the old harbour warehouses. The core of the building and extension modules consists of a steel construction that originated from a former textile factory, while the facades are made of recovered wooden cladding. Because the shape of the EduPlay Centre changes frequently year round, there is a continuous supply and demand of building components.
To reduce logistics, a small warehouse is built on-site, to store the components that are most frequently interchanged between the school and hotel configurations. Unfit building parts from the EduPlay Centre are brought to the Urban Livers for upgrading, remanufacturing and/or recycling. Thanks to the use of Building Information Models and materials passports, we have a clear overview of the components present in the current buildings, as well as in our warehouses."
This project has received funding from
the European Union’s Horizon 2020
research and innovation programme
under grant agreement No 642384.
Urban Livers_
The Urban Livers of Reburg harbour different companies that are active in materials management. All used materials, components and waste from the city are collected at the Urban Livers , where they are sorted, processed, reworked and stored awaiting their next use. Reusable materials and components are cleaned, described and stored in a component library. Components that are not reusable are sent to material recycling to create new raw materials. The engineers at the Livers team up with crafters and makers from the local FabCenter to refurbish or remanufacture components or to make materials with new properties for all kinds of industries.
Having the floor…
Carmen Van Zandt, component wizard at Urban Metabolism Ltd, a component service company:
"We offer recovered and refurbished building components to building assemblers and building stock managers, in the format of a service."
"I am component wizard at Urban Metabolism Ltd. Our company is located at Reburg’s Urban Livers and takes care of building materials and components that result from deconstruction works that take place in the city. We offer recovered and refurbished building components to building assemblers and building stock managers, in the format of a service. This use-oriented business model has several advantages, both for the customer as for us as a company. For the customer it reduces the risk and the cost of ownership of expensive building components, while offering a lot a flexibility in exchanging building units for other modules following changing needs. For us as a company, this model guarantees a more steady flow of income year-round, while with traditional sales, our revenues would be very dependent on market tendencies in the building sector at a certain moment. Moreover, this system allows for more customer loyalty.
Apart from the storage and processing, we also arrange the reverse logistics of the materials and products. For that we work closely together with building stock managers, such as Facilitoutatis, evaluating and redirecting deconstructed components when they come in, or even on-site based on their reuse potential. Some materials can be directly reused on-site or in new assemblies in the neighbourhood. The components that cannot be reused directly are transferred to our large storage facility at the Urban Livers. There, the materials are cleaned, checked for quality and stored until they can be reused in a new building. We update materials passports -or create new ones- in order to keep track of all components in our stock, their material properties, history and future recovery potential. As soon as a new application is identified, the components are refurbished, upgraded or remanufactured according to the new needs. Components that cannot be reused are sent to the neighbouring ResourCycle plant, also located at the Urban Livers, where they are recycled into raw base materials for industry or prepared as biochemical feedstock for agricultural applications.’
"
Rodrigo Madagani, building stock manager at Facilitoutatis, working at HealthyHill Estate:
"Already when planning a new building or a deconstruction project, we check with them which materials are readily available for reuse."
"I work closely together with the component wizards at Urban Metabolism Ltd. Already when planning a new building or a deconstruction project, we check with them which materials are readily available for reuse, or seek their advice on how to approach a deconstruction project and how to handle the resulting materials. They have an extensive component library from which we can select suitable materials and components, originating from different building system developers, including tailored refurbishment and remanufacturing in order to meet the specific requirements of the new build. materials passports are available for all building products, so material properties, use guidelines and restrictions are available at a glance.
Building components often remain the property of the Livers, while the end users lease them. Such a leasing scheme is particularly interesting for temporary buildings, or buildings that frequently undergo reorganisation, such as the EduPlay centre or HealthyHill Estate. After usage, the Livers take the components back and refurbish them to their near-original quality."
"
Erica Molano, strategic planner at ResourCycle:
"We sort, detoxify and reprocess unfit building components into new raw materials for industry or agriculture."
"Building components that are too worn out to refurbish or repair, or components from old buildings not designed for reuse, are usually declared unfit for remanufacturing by Urban Metabolism Ltd. These unfit components are sent to ResourCycle, also located at the Urban Livers, where we sort, detoxify and reprocess these materials into new raw materials for industry or agriculture. We work closely together with the innovative makers in the Fabcenter, as well as with established industries to develop new materials with new properties, including a good recyclability."
Elma Hobbs, building system developer at Meccalegos Ltd:
"Since the start of the Urban Livers, reusing building components has become second nature for every building designer."
"In the past, using reclaimed building components in new buildings was a very difficult and risky undertaking. Finding suitable components was a tedious task, as there was no structured storage and information system in place. Moreover, most contractors were very reluctant to use building components again due to a lack of quality assurance and incompatibility with other building systems.
Since the start of the Urban Livers, reusing building components has become second nature for every building designer. The company ‘Urban Metabolism’ acts as a component library and match maker, making the sourcing of components with the desired characteristics much easier. Their supply of reusable materials is enormous: interior building elements such as walls, doors, ceilings, floors and utilities, but also façade elements, bricks, window frames and steel beams. For each of the components a detailed materials passport with all relevant information is available, from which all the characteristics of the component can be retrieved: material composition and properties, strength characteristics, former uses, etc. The user-friendly database makes it very convenient to look for suitable components for a new building."
This project has received funding from
the European Union’s Horizon 2020
research and innovation programme
under grant agreement No 642384.
BUILDINGS AS MATERIAL BANKS: DISCOVER THE VISION_
We offer a peak into the future of circular construction through four buildings and the stories of the people involved in their design and use:
Pangaea Palace, a contemporary residential building within one of the oldest renaissance buildings of the city.
HealthyHill Estate, a small village for elderly and child care, an exhibition centre and a hospital within the green heart of Reburg
EduPlay Center, a children’s school & playground during the school calendar, recreational and holiday dwellings during vacation periods.
Urban Livers, a component library and recycling centre, where components and waste from the city are collected, sorted, processed and stored for reuse or recycling.
CONTENT BY_
This project has received funding from
the European Union’s Horizon 2020
research and innovation programme
under grant agreement No 642384.
JOB OFFER
Building configurator
At Synsys Industries we’re looking for a creative building configurator, in charge of small and big-scale building design projects.
Help make our customers’ housing and office dreams become reality. Boost your creativity and create building designs that stand out using a variety of open building systems.
If creativity is your second nature, please apply now for the job!
JOB OFFER
Building assembler
InterModular Constructors assembles, transforms and disassembles hundreds of buildings in Reburg. Our teams work each day on another building project.
If you are a handyman that likes to work with building blocks and tools, then try the real thing as a building assembler at InterModular Constructions!
No previous experience required.
JOB OFFER
Building stock manager
Facilitoutatis is Reburg’s leading residential building management company. We’re looking for an experienced building stock manager to reinforce one of our district teams. As a manager you will coordinate the regular maintenance and transformation of 100 dwelling units, keep digital log books for each building up to date and assist dwellers with a desired transformation.
You will be living in one of our starters’ apartments in the district, free of all charges, except of energy and water consumption.
JOB OFFER
Building system developer
Digital Brick is a young company specialised in traceable building blocks. We want to hire a freelancer to further develop our digital tracing system and couple it to the materials passport of each building block.
Our young team would love to see your IT skills in action. Apply here for the job, if you think you’re qualified!
JOB OFFER
Building deconstructor
Specialised in major building deconstruction works, Concave Deconstruction Services is an SME operating throughout Reburg. We strip down vacant buildings, selectively deconstruct each part and separate sound building components from unfit ones.
We’re looking for a building deconstructor to join our team. You will be in charge of the pre-deconstruction audit, coordinate deconstruction works and logistics for remanufacturing with our partners at the Urban Livers. Experience in BIM and materials passports is required.
JOB OFFER
Building system developer
Meccalegos has already 30 years of experience in developing building kits, made of compatible building components. Recently, Meccalegos has launched an innovation planaiming at developing 3D printable building systems made of innovative materials and compatible with the existing building systems.
We are looking for a specialist in additive manufacturing with a higher degree in applied chemistry. If you’re this unicorn, then contact us soon.
JOB OFFER
Component wizard
Located at the Urban Livers, Urban Metabolism is the biggest employer of the city Reburg: each day 2.200 employees help to sort, remanufacture, store and repurpose 10.000 m³ of building components.
We’re urgently looking for component wizards, seeking new applications for reclaimed building products. Good collaboration skills are a must as you will work closely together with building stock managers and building configurators at our partner companies.
If you like to collaborate with people inside and outside the company, take contact with the HR department of Urban Metabolism Ltd.
JOB OFFER
BIM digitizer
Facilitoutatis, is Reburg’s leading residential building management company. We’re looking for a BIM digitizer, with at least 5 years of experience, to help us to inventory our historical building stock in the city centre.
This built heritage is one of the last parts of the city that isn’t fully inventoried yet. Helps us to make digital twins of these buildings, through building information models, and couple them to the city’s cadastre.
JOB OFFER
True alchemist
At ResourceCycle we cannot promise you we will change lead into gold, as alchemists pretended in the Middle Ages. But we can promise you to change waste in valuable technological and biological nutrients again. Far better than gold!
Do you want to be the alchemist of the 21st century, send your digital CV.
JOB OFFER
Urban scenario developer
The city’s urban scenarios administration is continuously looking for ways to make Reburg’s building stock more circular and sustainable.
We are looking for a circular building assessor, responsible for the development and testing of improvement scenarios for Reburg, based on a digital twin environment.
If you have 5 years of experience in circular building assessment, building information management and knowledge of materials passports, contact us through the official recruitment webpage.
JOB OFFER
Empowered citizens
We’re looking for volunteers keeping watch over private data.
Digital Commons, is an non-profit organisation, where citizens decide which private data companies and the legal authorities are allowed to use. We keep track of data usage through block chain technology. Currently we are looking for volunteers to work for our Built Environment section, keeping track of the legislation on building usage data.
Come at our monthly meetings, each second Tuesday evening, at 19:00, at the EduPlay Centre.
IN-DEPTH
reversible building design
Reburg is committed to reversible buildings! These buildings are designed and assembled in such a way that they are easily disassembled into smaller independent parts or components. This can be done by a professional building stock manager, but in some buildings – such as in Pangaea Palace – it might also be done by the building users themselves, through Do-it-Yourself (DIY) building kits.
Reversible buildings can be adapted to changing user needs and requirements, and also facilitate the reuse of building components in the same building(s) or other applications. By doing so, material resources are used in a highly productive way: waste is avoided and the life span of building components is extended. This is sometimes also referred to as ‘Design for Change’.
To make reversible building a reality, the use of reversible connections is imperative! Reversible connections are often dry connections such as bolts and screws, but Velcro and lime mortar can also be used. In contrast to glues, cement mortar and welds, reversible connections allow for non-destructive disassembly.
Source: OVAM
Reversible building design is not restricted to new buildings, it is also applicable in refurbishment projects, as discussed in Pangaea Palace. Nor is reversible building design restricted to new building products. Recovered products can also be reused - as described in the EduPlay Center. Finally, reversible buildings can be made of materials that can be recycled and/or are bio-based.
In order to guide building (system) designers and product developers to create reversible building solutions, reversible building design protocols are needed to improve the reuse potential and transformation capacity of buildings and its parts. More information on these protocols can be found onthe BAMB 2020 website.
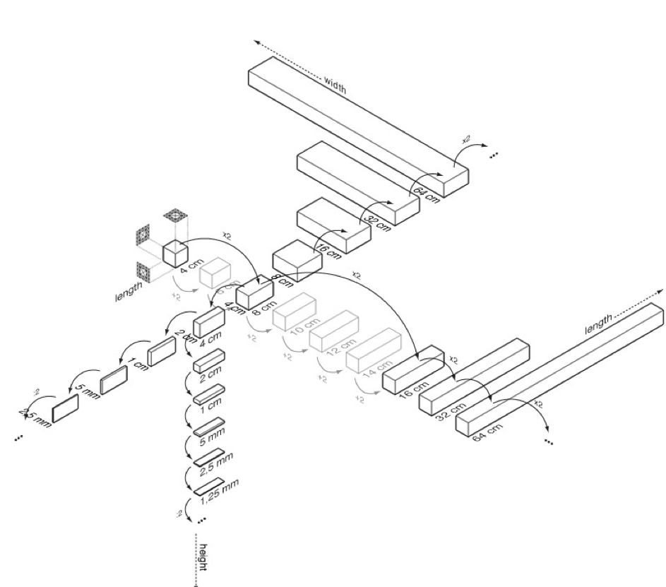
A key aspect of the buildings in Reburg is the use of open building systems, in which compatible building components and connections are used for one or more building configurations. Like in Meccano™, K’nex™ and Lego™ kits, components and connections within the building system are designed according to dimensional modules, which allows a component within a building system to be replaced by a component of another system, thus supporting multiple combinations. This principle finds its inspiration in nature, where all organisms arecomposed of a limited amount of atoms and molecules, yet providing an enormous diversity of organisms. The principle of an open building industry was not an easy one to achieve, as it required standardization agreements within the entire building sector.
Reburg’s buildings and building components are digitally connected through the city’s cadastre.
Materials passports – electronic data sets digitally attached to each installed building product – provide relevant up-to-date information on the building product, accessible for all building actors.
The materials passport contains all relevant material, technical and health characteristics of the product, data on the current and historic use of the installed product within the building, as well as guiding information on how to maintain and (dis)assemble it. This information is accessible to building professionals, policy administrations responsible for the building stock and end users, in order to facilitate reuse, recycling or reprocessing of the specific components.
Sources: BAMB, EPEA
Thanks to materials passports, building stock managers (formerly known as facility managers) all over the city can plan maintenance and replacement works in an effective way. Component wizards (formerly known as waste managers) can easily check the city’s cadastre if building products resulting from building transformation or deconstruction works can be redirected to other applications in the city. If the specifications match, the building product can directly be sent towards its next application.
Building configurators and building system developers (formerly known as manufacturers and architects) can use the data on the materials passport to check if a component meets the specifications of a new building design. If a component’s applications are limited, for example due to historical damage, this information is stored on the passport. If technically possible and financially feasible, the building product will be sent for repair, for example at the remanufacturing hall at the Urban Livers. If not possible, the product will be recycled or used as biochemical feedstock. Following reprocessing, the materials passport is renewed.
More information on the different functionalities of materials passports can be found on the BAMB 2020 website.
In the beginning of the 21st century, Reburg, like many cities, suffered from wasteful construction and demolition works. More than 30% of all waste generated within Reburg originated from construction and demolition works. Nowadays, Reburg has adopted a circular building practice, which is aimed at getting resources back in such a way that they can be used again for other applications. Two strategies can be put forward to achieve this:
Urban Mining, by recovering building materials and building components from existing buildings for low- or high value recycling/reuse, even though these buildings were initially not designed to be easily deconstructed.
Urban Metabolism, by designing, installing and re-installing building components in such a way that they are used over and over again.
In both strategies, buildings are considered as materials banks, temporary repositories of valuable building products that can be recovered for other applications as well. Only a limited amount of primary resources have to be imported to keep the cycle running and only a limited amount of materials end up as waste that needs to be disposed.
No one likes the idea of living or working in buildings with hazardous materials. In Reburg only healthy buildings are used: there are no hazardous emissions originating from interior or exterior materials and a sound ventilation system, adapted to the use of the building, is always installed. Even the old buildings have been ‘decontaminated’ from materials not meeting (human and ecosystem) health regulations. This was not easy, because only in the last decades we’ve increasingly becoming aware of the effect of hazardous substances on human and ecosystems health.
Because in Reburg the composition of new as well as old buildings has been digitised thanks to the introduction of materials passports and building information management, we know exactly which building materials have to be taken out of the building stock and replaced by non-hazardous alternatives. Even more, in some building cases, such as in the HealthyHill Estate, materials actively purifying the indoor air have been used.
New as well as old buildings within Reburg are completely digitised. This means that a digital twin has been constructed, in order to share building information with building professionals and to simulate use/transformation scenarios by supporting decision-making. Information sharing is done through the use of Building Information Models (BIM), or 3D models with intelligent, structured data attached to them.
For new buildings digitisation already starts at the design stage, where building system developers (manufacturers), configurators (architects & engineers), (dis)assemblers (contractors) and building stock managers (facilitators) share information on product and building (use) specifications. Managing this information enables all parties to select fit for purpose products (solutions) and make sound design decisions. These BIM are also used in later life cycle stages, as data on the historic and current use of building products – coupled to the BIM via materials passports – can help building stock and component wizards to maintain buildings and replace building products in a more effective way. All this information is used within circular building assessment tools, to support decision-making.
The fact that the same BIM can be used during the entire life cycle of the building revolutionised the traditional construction industry, where information used to be scattered and lost over time, as most information was being kept on paper or individual computers and servers.
Developing BIM of old, existing buildings was not easy. With the help of high-tech scanning devices, the geometrical characteristics and composition of the existing buildings was digitised. With the long history of Reburg, this was a gigantic task. In fact, the same techniques are currently used to map all (old) sewage systems and other infrastructure. Soon, a complete digital 3D map of Reburg will be available.
Digitizing the entire building stock could not have been done without a strategic policy plan. From the beginning of the 21st century, Reburg’s urban planning administration took a step-wise approach in which BIM were systematically created for public buildings, through public procurement, and afterwards BIM was also made mandatory for private buildings, large and small.
More information about building information modelling can be found on the BAMB 2020 website.
For the realisation of each construction and refurbishment project within Reburg many decisions regarding the building configuration and choice of building products and components have been made. In order to support decision-making processes in an effective way, the performance and added value of each design option for the user(s) and society has to be carefully compared before making a selection.
Many building professionals within Reburg use a circular building assessment tool to evaluate the potential consequences of using reclaimed products instead of new ones, using demountable building components instead of fixed ones, and extending the service life of buildings by supporting multiple functional changes instead of a static monofunctional design.
Such assessment studies require a life cycle approach, in which multiple sustainability aspects, such as environmental impact, financial costs, health consequences and social value of the building, are included. Typical design indicators, such as reuse potential and transformation capacity of a building, are also used to support the reversible building design process:
Reuse potential, expresses the likelihood that the components of the building can be disassembled and reused. The more effort needed to take apart a building or a building section – without damage – and to reuse it for another purpose, the lower the indicator will be.
Transformation capacity, expresses the effectiveness and efficiency of altering its functional and physical characteristics to meet changing needs and requirements. The more effort needed to adjust a building or a building section to new requirements, the lower the transformation capacity will be.
Thanks to the integration of materials passports and building information management within Reburg’s built environment, it was only a matter of time before autonomous learning systems would use the abundance of data on the use of buildings and their components to provide insights on how to enhance the building performance. The data is also shared with registered building configurators (previously known as architect and engineer) to assist building users to transform the building based on a detailed circular building assessment.
In the last decades, Reburg has witnessed the evolution from automated and smart buildings to cognitive buildings. Cognitive buildings contain sensors and appliances, which are linked to Internet of Things (IoT) devices and a machine learning system. By monitoring real-time energy and water consumption, operational waste and indoor air emissions, suggestions are given to change the settings of technical services and user behaviour in order to improve building performance. When a building component needs maintenance or repair, the owner and building stock managers are informed. Machine learning can even provide design assistance in case a change in building function is required. The transformation capacity and reuse potential related to each possible building or spatial configuration is calculated and presented to the building configurator (previously known as architect and engineer) and (new) building users, through the use of a digital twin of the building. Circular building assessment tools can be linked to this digital twin, in order to refine the environmental impacts, financial costs and social added value of the selected design options.
Not all citizens are keen on sharing building use data with others, because they are afraid of misuse and potential hacking. For this reason, some residents of the Pangaea Palace did not opt for a cognitive dwelling unit. Reburg’s administration is currently working on policy measures to regulate privacy of building use data and secure it from criminal use.
The economy is flourishing in Reburg! Small and big businesses pop up around circular practices. This is certainly the case within the building sector. A lot of valuable materials and components coming out of deconstruction and refurbishment works are re-introduced on the market for new applications. Companies such as MeccaLegos, developing open building systems, Facilitoutatis, managing building transformation processes within the building stock, and Urban Metabolism, a partner in reverse logistics for redundant and unfit building components, are able to make their businesses profitable thanks to a strong collaboration with each other.
But it’s not only about making profit, balancing financial costs and benefits! All these companies are also creating added value for end-users, for example through sustainable product service systems , and for society, for example by extending the life span of buildings and building products.By doing so, they avoid waste and the use of primary resources.
In order to help companies in setting up flourishing circular practices, a framework of business models has been created over the last decades to assist start-ups and established companies. Through circular business models, new or existing value propositions towards customers are reinforced with strategies to create closed material or component loops and ways to intensify collaboration within the value network. Also, alternative financing strategies are suggested, to arrange the ownership of circular goods.
In order to avoid unsustainable trade-off effects, such as an increase in materials production due to multi-functional use, or an increase of transport due to a decentralised logistic system, a profound sustainability assessment is required before new circular practices are introduced. Because each building context is different, building professionals can rely on circular building assessment tools!
Commercial products are linked to services so they can jointly fulfil specific customers’ needs. That is the idea behind product service systems (PSS). PSS provide manufacturing companies a platform to: “(i) increase differentiation of its complete solution from the competition; (ii) support revenue growth beyond the limitations of a pure-product market; (iii) establish stronger customerloyalty; (iv) create continued service revenuestreams; and (v) manage the whole product life cycle, …” (de Senzi Zancul et al. 2012)
Depending on the type of PSS, the end-user can choose if he/she pays only for the benefit of using a product or for also owning the product. Within product-oriented PSS, the end-user is the owner of the product, but additional services or advice are offered by the provider. For example, a yearly maintenance of the heating furnace is offered by the provider. In a use-oriented PSS, the ownership remains with the provider and usage rights are sold to the customer, either exclusively or within a community. The pay-for-use or pay per service contract is a special use-oriented PSS, in which the user only pays for the output of the product according to the use level. For example, pay-per-lux systems, in which lighting is provided as a service instead of selling lamps.
Source: Circular Flanders
Product service systems are integrated within all business sectors, so also within the building ‘industry’. Have a look at the signals of change for which PSS are already available today!